PULS

Zdroj 1-fázový, 24 V DC, séria Silverline

Série SL2.100, SL5.100, SL5.102

Zdroje série SilverLine sú vysokej kvality, odolné a majú dostatočný výkon. Navyše umožňujú paralelné pripojenie. Výrobca však plánuje postupne ukončiť výrobu tejto série a nahradiť ju modernou sériou DIMENSION Q. V súčasnosti odporúčame používať sériu SilverLine len tam, kde nie je jednoduché zmeniť projekt alebo ak neexistuje ekvivalent v novejšej sérii DIMENSION Q/ MiniLine. Technické parametre zahŕňajú SL2.100 (2.5A) a SL5.10x (5 A).
  • Výstupný prúd 2,5 A a 5 A
  • Vysoká účinnosť
  • Zvýšenie výkonu
  • Vysoký skratový prúd
  • Postupné ukončovanie výroby
Priemyselný napájací zdroj SL2.100

Priemyselný napájací zdroj SL5.102

SL5.102 - Pulzný zdroj 115/230 V AC. 24 V DC/5 A

Vybraná varianta

Vybraná varianta

Špecifikácia

Hmotnosť 0,46 kg
Primárna poistka 10 A B
Trieda krytia IP20
Účinnosť 87,5 %
Výstupné napätie 24 V DC

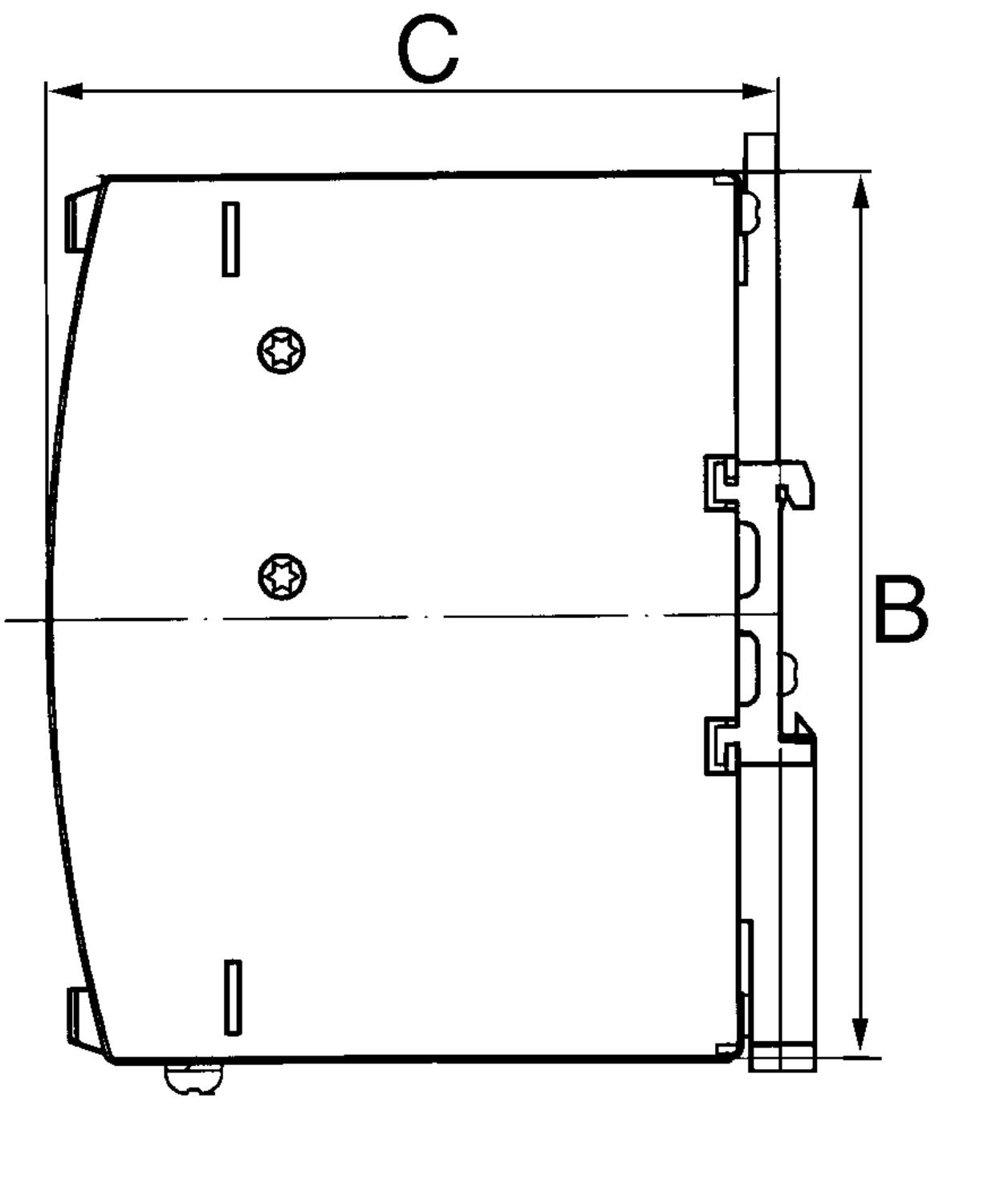
Rozmery a pripojenie

Drawing to SL2.5

SL2.100 B 125 mm, C 103 mm
SL5.100 B 125 mm, C 103 mm

Drawing to SL2.5

SL2.100 A 50 mm
SL5.100 A 50 mm

Connecting drawing to SL2.5

Pre optimalné chladenie odporúcame ponechat volný priestor 25 mm nad/pod a 15 mm medzi zdrojmi.

Popis produktu

Zdroje rady SilverLine sa vyznačujú vysokou kvalitou, robustným prevedením, výkonovou rezervou a možnosťou paralelného radenia. Upozornenie: výrobca v horizonte niekoľkých rokov predpokladá postupné ukončovanie výroby tejto rady. Modernejšia rada DIMENSION Q je postupne doplňovaná tak, aby v budúcnosti rad SilverLine kompletne nahradila. V tejto chvíli rad SilverLine môžeme odporučiť len tam, kde nie je možné ľahko zmeniť projekt alebo v prípade, keď zatiaľ neexistuje ekvivalent v novšej rade DIMENSION Q / MiniLine.

 

Príslušenstvo

Produktové správy

Puls Napájací zdroj s diplejom

Informácie priamo z displeja vášho napájacieho zdroja. Vedeli ste, že informácie môžete získať priamo z vášho napájacieho zdroja?

Produktové správy

Nový dizajn poistiek od Lütze: Locc-box 2.0

Lütze prichádza s novým, aktualizovaným dizajnom svojej elektronickej poistky, pričom si zachováva rovnaké výrobné číslo ako predtým.

Produktové správy

Puls FIEPOS - Napájanie budúcnosti

Nová rada zdrojov FIEPOS od nemeckej firmy PULS bola navrhnutá tak, aby vďaka svojej modularite a vysokej triede ochrany maximálne pomohla vývojárom systémov a strojov.

OEM Automatic Open Days 2025
Události

OEM AUTOMATIC OPEN DAYS 2025

Akcia ponúka príležitosť na stretnutie s našimi inovatívnymi produktmi aj expertmi na aplikácie. Uvidíte dynamické prezentácie najnovších výrobkov, ktoré dokážu digitálne transformovať Vašu prevádzku, zaistiť bezpečnosť strojných zariadení a ďalšie rôzne systémy pre automatizáciu strojov a riešení. Návštevu si môžete spríjemniť skvelým jedlom a pitím, ktoré bude k dispozícii formou rautu.

Seifert Systems Priemyselne chladenia
Produktové správy

SEIFERT SYSTEMS PRIEKOPNÍK V OBLASTI PRIEMYSELNÉHO CHLADENIA

Už viac ako polstoročia je na čele vývoja inovatívnych riešení chladenia, ktoré vyhovujú rôznorodým potrebám priemyslu po celom svete.

Produktové správy

SEIFERT SYSTEMS KOMPLEXNÉ RIEŠENIA PRE KAŽDÚ PRIEMYSELNÚ POTREBU

Spoločnosť Seifert Systems ponúka rôznorodý sortiment modelových produktov, aby uspokojila rôzne chladiace potreby rôznych priemyselných odvetví.

Objednávacie číslo Frekvencia Hĺbka Hmotnosť Max. teplota bez zníženia výkonu Min. teplota bez zníženia výkonu Preklenutie krátkodobého výpadku v sieti Primárna poistka Séria Šírka Spotreba pri 120 V AC Spotreba pri 230 V AC Účinnosť Výkon Výška Výstupné napätie Výstupné napätie, norm.prevádzka Výstupný prúd Zhoda s normami Zvlnenie max.
0,46 kg
10 A B
87,5 %
24 V DC
47 Hz
102 mm
0,62 kg
60 °C
-10 °C
>37 ms
Silverline
64 mm
2,6 A
1,4 A
90 %
120 W
124 mm
24 V DC
24 V DC
5 A
CB, UL
25 mV pp

Vybraná varianta

Vyberte variant v zozname

Kontakt

Nataliya Mykyta

+421 332 400 160
Zákaznícky servis
Kontaktujte nás:
+421 332 400 160
Potrebujete pomoc?
Logo

Nastavenia cookies oemautomatic.sk

Súbory cookies nám pomáhajú zlepšovať vašu skúsenosť s nami a preto, aby sme mohli narábať s prihlasovacími údajmi, ponúkať personalizovaný obsah a pre základnú funkčnosť tejto webovej stránky používame niektoré súbory cookies.

Nikdy nebudeme predávať žiadne informácie o vás.

Môžete akceptovať všetky súbory cookies alebo prispôsobiť svoje preferencie pre súbory cookies, môžete tiež kedykoľvek zmeniť svoje preferencie týkajúce sa súborov cookies návštevou našej kontaktnej stránky.


Nevyhnutné súbory cookies

Tieto súbory cookies sú nevyhnutné pre fungovanie webovej stránky a nemožno ich v našich systémoch vypnúť. Zvyčajne sa používajú iba v reakcií na akcie, ktoré ste vykonali v súvislosti so žiadosťou o službu, napríklad pri nastavovaní osobných preferencií, prihlásení alebo pri vyplnení formulára.

Súbory cookies pre analýzu a meranie

Tieto súbory nám umožňujú počítať počet návštev a zdroje návštevnosti, aby sme mohli merať a zlepšovať výkonnosť našej webovej stránky. Pomáhajú nám zistiť, ktoré stránky sú viac či menej populárne a ako sa návštevníci po stránke pohybujú. Informácie, ktoré tieto cookies zhromažďujú sú agregované, a teda úplne anonymné. Ak tieto cookies nepovolíte, nevieme, kedy ste navštívili našu webovú stránku.

Marketingové súbory cookies

Tieto súbory cookies môžu pridať naši partneri. Môžu ich použiť na vytvorenie vášho profilu na základe vašich záujmov, aby vám mohli zobrazovať relevantnejšie informácie. Neuchovávajú žiadne osobné informácie – iba informácie o vašom prehliadači a zariadení. Ak tieto cookies neprijmete, budete mať všeobecnejšie a menej prispôsobené užívateľské prostredie.